Wie alles Begann... Güldner GK

Hier könnt ihr euren Motor oder euer Fahrzeug vorstellen. Egal ob restauriert oder nicht!

Moderatoren: MotorenMatze, meisteradam, Junkersonkel

Antworten
Maasholmer
Beiträge: 19
Registriert: So 7. Feb 2016, 06:18
Meine Motoren: Güldner Gk

Wie alles Begann... Güldner GK

Beitrag von Maasholmer »

So habe ich ihn geholt
So habe ich ihn geholt
Maasholmer
Beiträge: 19
Registriert: So 7. Feb 2016, 06:18
Meine Motoren: Güldner Gk

Bilder

Beitrag von Maasholmer »

Gerne habt teil an meinem projekt bin für jede Anregungen verbessungen oder Tipps dankbar..
Dateianhänge
20160207_181936.JPG
20160207_182038.JPG
1
1
Benutzeravatar
Standuhr
Beiträge: 1074
Registriert: Mo 18. Jan 2016, 21:08
Meine Motoren: Sendling WS 304
Sendling WS 356
Sendling WS 308 runder Zylinderkopf
Sendling WS 308 eckiger Zylinderkopf
Sendling WS310
Sendling SG 6 PS
Sendling MS1 luftgekühlter Zylinderkopf
Güldner GK 5,5 PS
Güldner GKN 6 PS
Farymann Typ D
Farymann Typ E
Farymann LE
IHC 1,5 HP Typ M
Farymann 22LR
Briggs & Stratton/Wisconsin?
DEUTZ MA 608
DEUTZ MA 711
Keidel RKMN3
Jaehne LTH
Ignaz Lorenz 3-4 PS

Re: Wie alles Begann... Güldner GK

Beitrag von Standuhr »

Hallo Maasholmer,
das ist ein schöner kleiner Motor verm. mit Natter Einspritzpumpe gut ist ein bischen angegammelt. Der Ölbadluftfilter sah bei mir genau so aus, habe ihn aufgeschnitten und wieder halbwegs in Form gebracht dann wieder verschweißt. Der Wasserschwimmer ist bestimmt abgesoffen! Läuft er ?

Gruß Klaus

Das ist meiner:
Maasholmer
Beiträge: 19
Registriert: So 7. Feb 2016, 06:18
Meine Motoren: Güldner Gk

Re: Wie alles Begann... Güldner GK

Beitrag von Maasholmer »

Hallo standuhr ehrlich gesagt habe ich es noch nicht getestet ob er läuft ich wollte mir erstmal einen wagen bauen damit er gut steht und vllt kannst du mir helfen ich muss mir noch eine andrehkurbel schweißen , sehr schöner motor den sie da zurecht gemacht haben ich mag die farbe sehr ist dass metallic grau?
Benutzeravatar
Standuhr
Beiträge: 1074
Registriert: Mo 18. Jan 2016, 21:08
Meine Motoren: Sendling WS 304
Sendling WS 356
Sendling WS 308 runder Zylinderkopf
Sendling WS 308 eckiger Zylinderkopf
Sendling WS310
Sendling SG 6 PS
Sendling MS1 luftgekühlter Zylinderkopf
Güldner GK 5,5 PS
Güldner GKN 6 PS
Farymann Typ D
Farymann Typ E
Farymann LE
IHC 1,5 HP Typ M
Farymann 22LR
Briggs & Stratton/Wisconsin?
DEUTZ MA 608
DEUTZ MA 711
Keidel RKMN3
Jaehne LTH
Ignaz Lorenz 3-4 PS

Re: Wie alles Begann... Güldner GK

Beitrag von Standuhr »

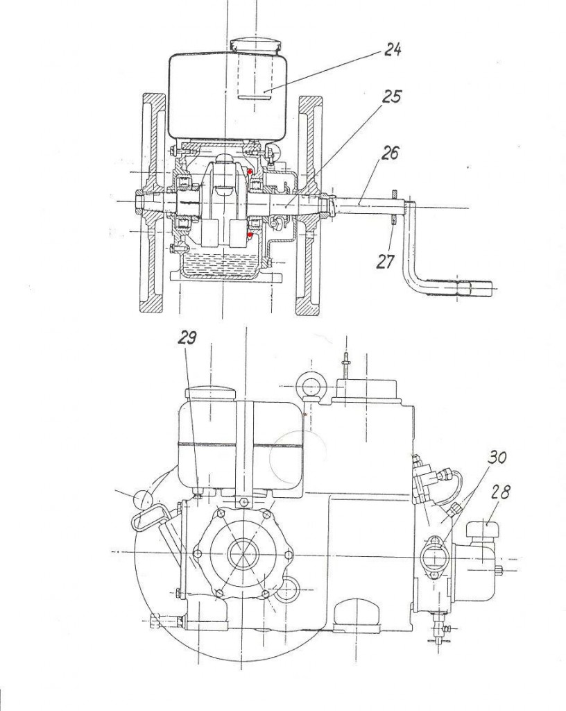
Also wenn du den Motor starten willst um zu sehen ob er läuft rate ich dir: Kompression mal prüfen ob ausreichend, Kraftstofftank und Leitungen ,Siebfilter,Einspritzdüse putzen und entlüften,Ventile schmieren,Ölbadluftfilter prüfen,Motorenöl prüfen und am besten den Kurbelwellengehäusedeckel kurz öffnen. Dann prüfst du am besten gleich die Rinne (rote Punkte auf der Zeichnung)des Ölschleuderrings auf Verschmutzung. Ist die zu wird der Hubzapfen der Kurbelwelle schlecht oder gar nicht mehr geschmiert!!!Das Ansaugsieb der Schmierölpumpe im Sumpf auf Verschmutzung prüfen;die versorgt die Kipphebel(kalt 0,3 Spiel).
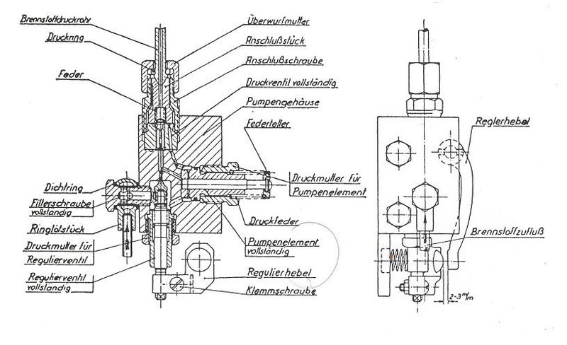
Eine Besonderheit ist die Natter Einspritzpumpe. Manchmal hartnäckig zum Entlüften;die Fördermenge wird hier mittels eines Kegels (Kegelventil,Bypass) reguliert also nicht mit einer Steuerkurve wie bei BOSCH. Vor dem Starten heißes Wasser einfüllen und mit Zündfix sonst wirst du ihn vermutlich nicht oder schlecht an bekommen!!



Gruß Klaus

PS:Ich lade morgen eine Skizze der Kurbel hoch!
Dateianhänge
Scannen.jpg
Scannen0001.jpg
Scannen0002.jpg
Scannen0003.jpg
Scannen0003.jpg (36.22 KiB) 6261 mal betrachtet
Benutzeravatar
Standuhr
Beiträge: 1074
Registriert: Mo 18. Jan 2016, 21:08
Meine Motoren: Sendling WS 304
Sendling WS 356
Sendling WS 308 runder Zylinderkopf
Sendling WS 308 eckiger Zylinderkopf
Sendling WS310
Sendling SG 6 PS
Sendling MS1 luftgekühlter Zylinderkopf
Güldner GK 5,5 PS
Güldner GKN 6 PS
Farymann Typ D
Farymann Typ E
Farymann LE
IHC 1,5 HP Typ M
Farymann 22LR
Briggs & Stratton/Wisconsin?
DEUTZ MA 608
DEUTZ MA 711
Keidel RKMN3
Jaehne LTH
Ignaz Lorenz 3-4 PS

Re: Wie alles Begann... Güldner GK

Beitrag von Standuhr »

Anbei die versprochene Skizze der Kurbel. Die Hülse zuerst mit 19,6 bohren,dann Querbohrung setzen , Nut anzeichnen und am besten mit der Flex und dünner Trennscheibe herausschneiden. Mit einem Maßband die Schräge von rechts unten auf die andere Seite hoch übertragen und wiederum herausschneiden und alles sauber verputzen. Den drehbaren Griff brauchst du nicht ,ist ohne sowieso sicherer. Lackiert ist mein Motor, wenn ich mich recht erinnere, RAL 7012 Basaltgrau.

Gruß Klaus
Dateianhänge
CIMG0017.JPG
CIMG0016.JPG
CIMG0012.JPG
CIMG0014.JPG
Maasholmer
Beiträge: 19
Registriert: So 7. Feb 2016, 06:18
Meine Motoren: Güldner Gk

Re: Wie alles Begann... Güldner GK

Beitrag von Maasholmer »

Hallo Standuhr Super danke für die Skizzen und Super Tipps ich werde in meinem nächsten Freitörn mal sehen ob ich ihn so wie du beschrieben hast zum Laufen bekomme , muss ich auf irgend etwas achten wenn ich den Motor komplett zerlege dass ich beim Zusammenbau wieder etwas erneuern muss wegen der Demontage oder kann man alles selber bauen ich habe nämlich Angst dass wenn ich ihn zerlege mir die z.b nötigen teile sowie Dichtungen fehlen..
Die andrehkurbel ist fast fertig hat Super geklappt soweit ....
Habe vor Duden Motor Pulver zu beschichten habe eine Anlage ...

Gruß Maasholmer
Benutzeravatar
Standuhr
Beiträge: 1074
Registriert: Mo 18. Jan 2016, 21:08
Meine Motoren: Sendling WS 304
Sendling WS 356
Sendling WS 308 runder Zylinderkopf
Sendling WS 308 eckiger Zylinderkopf
Sendling WS310
Sendling SG 6 PS
Sendling MS1 luftgekühlter Zylinderkopf
Güldner GK 5,5 PS
Güldner GKN 6 PS
Farymann Typ D
Farymann Typ E
Farymann LE
IHC 1,5 HP Typ M
Farymann 22LR
Briggs & Stratton/Wisconsin?
DEUTZ MA 608
DEUTZ MA 711
Keidel RKMN3
Jaehne LTH
Ignaz Lorenz 3-4 PS

Re: Wie alles Begann... Güldner GK

Beitrag von Standuhr »

Hallo Nick,
bei diesem Motor gibt es nur ein paar Sachen:
Wenn du den Nockenwellendeckel abbaust und zerlegst mach dir gute und viel Fotos,der Anbau ist eine Fummelei. Die Dichtung hier ist sehr dünn, ich habe hier ein ölgetränktes DIN A4 Blatt genommen,ist bis heute dicht. Wenn die Einspritzpumpe in Ordnung ist,laß sie zusammen.Wenn nicht, der O-Ring für das Pumpenelement hat Zollmaß,versuche es nicht einen metrischen zu verwenden,das wird nichts(Ich habe noch 99 Stück :D ). Simmerringe der Kurbelwelle und Dichtpapier gibts im Netz und Autozubehör. Wenn du den Kopf abbaust achte darauf ,daß die Dichtung ganz bleibt dann kannst du sie wieder verwenden.
Wie du auf der Zeichnung der ESP sehen kannst muß der Hebel des Reglergestänges zur Reguliernadel 2-3mm Abstand haben sonst wird der Einspritzdruck zu früh oder ganz in den Bypass geleitet;d.h. der Motor startet nicht.
Bei der Montage des Pleuels mußt du bedenken ,daß die Dehnschrauben, wie der Name schon sagt, schon gedehnt sind. Richtig wäre hier neue zu verwenden aber ich wüßte nicht woher. Ich habe sie wieder verwendet und mit Schraubensicherung zusätzlich gesichert. Das Anzugsmoment ist aber viel nidriger wie bei den Vorgaben sonst reißt die Schraube ab oder überdehnt und verjüngt sich!
Wenn du so weit bist gib mir kurz bescheid.

Gruß Klaus
Maasholmer
Beiträge: 19
Registriert: So 7. Feb 2016, 06:18
Meine Motoren: Güldner Gk

Re: Wie alles Begann... Güldner GK

Beitrag von Maasholmer »

Kann eine Weile dauern aber mache ich gerne.... Denn weiß ich ja nun bestens Bescheid super :D
Antworten